平槳式攪拌器槳葉的幾種固定方法
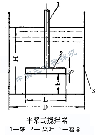
一、平槳式攪拌器簡介:
平槳式攪拌器是最常用的一種攪拌器,主要是用于粘稠性和一般液體物料攪拌。結構在各種攪拌器中最為簡單,其漿葉裝置與旋轉方向相垂直,或與旋轉的方向成一傾斜角(45度以下)(當葉面與容器底面平行時,由于不能使物形成渦流,攪拌效果差;當葉面與旋轉方向垂直時,造成阻力又很大。因此通常都使漿葉與旋轉方向成一夾角,減小了阻力,提高了攪拌效果。)當軸沿漿葉傾角方向轉動時,可攪起沉渣,反之可使懸浮物攪拌至底部。

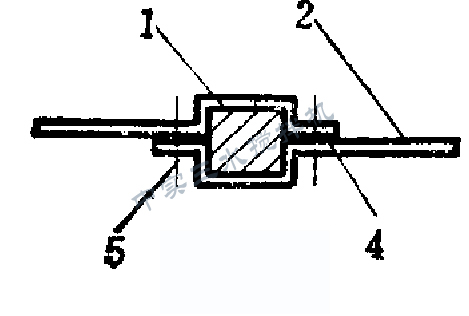
二、平槳式攪拌器漿葉固定在軸上的四種方法:(附圖)
1)焊接法:制造方便,但強度不大,拆卸困難,常用于直徑小的容器中。

2)螺釘連接法:螺釘把漿葉固定在軸上,中間有墊片。當軸是圓形時,主要靠漿葉與軸的摩擦力而使漿葉旋轉,拆卸方便,但功率大時,容易產生滑動,故只適用于功率小的場合。

3)方軸、螺釘連接,目的是克服漿葉與軸的滑動,但方軸加工不便,漿葉與軸連接也比較麻煩。

4)鍵固定法:漿葉焊在軸套上,軸套與軸之間銷以鍵固定,能克服以上缺點,被廣泛采用,為了使攪拌更有效,可裝置好幾排漿葉,每一排上漿葉為兩個或四個,相鄰兩排漿葉應互相垂直,以增加攪拌效率,漿葉的大小約為容器直徑的1/3~2/3,寬度為長度的1/10~1/6。轉速一般為20~80轉/分,低速攪拌。

特點:構造簡單,攪拌效果良好。
注意:當葉面與容器底面平行時,由于不能使物料形成渦流,攪拌效果差;當葉面與旋轉方向垂直時,造成阻力又很大,因此通常都使槳葉與旋轉方向成一夾角。

(中實三水科技整理僅供參考,詳情可咨詢相關行業技術人員或致電本公司15995049000何工m.ylxex.cn專注各種非標攪拌生產)
【相關技術知識】
● 攪拌器知識



